搬来的 看见需要sg11拓展就懒得测试了!介绍说是运营级的
可搭建!运营级!首次公开!
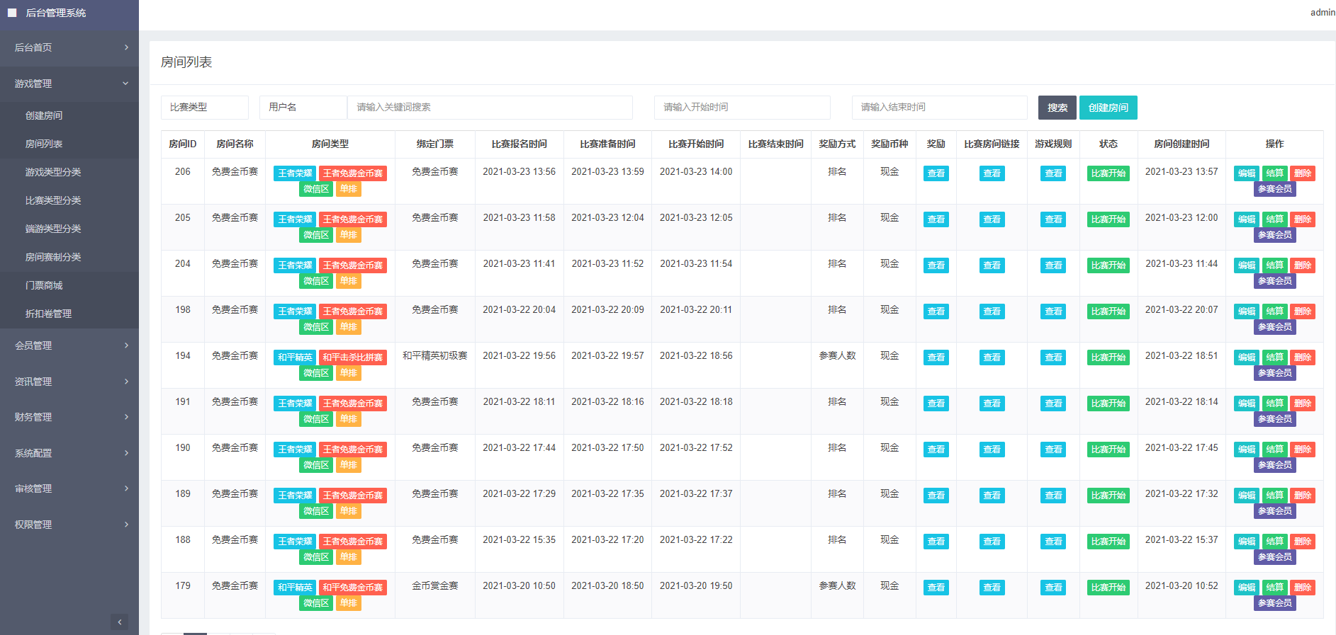
赏金赛源码,用户通过平台打比赛,赢了获得奖金奖励,金币赛、赏金赛、vip赛等种赛事.可开王者荣耀、和平精英比赛
支持1v1、单排、双排组、战队排等多种比赛模式
支持QQ区、微信区
游戏玩的好的玩家可以通过打比赛赚钱
平台可以通过比赛抽水 、会员充值、手续费盈利
设备需求:服务器+域名运营级源码 ,可二开!

声明:本站所有文章,如无特殊说明或标注,均为本站原创发布。任何个人或组织,在未征得本站同意时,禁止复制、盗用、采集、发布本站内容到任何网站、书籍等各类媒体平台。如若本站内容侵犯了原著者的合法权益,可联系我们进行处理。
